Olah Gerak Kapal Soal Jawab
Olah Gerak Kapal Ukp
1.Faktor-faktor yang mempengaruhi olah gerak kapal.Jawab:
I.Dari dalam : ( dari kapal itu sendiri )
a.sifat tetap
1.bentuk kapal
2.macam dan kekuatan mesin
3.jumlah ,tempat , macam, bentuk dan ukuran daun kemudi.
b.sifat yang tidak tetap.
1.sarat atau draft kapal
2.trim
3.keadaan pemuatan
4.karang di kulit kapal ( tritip)
II.Faktor dari luar
1.angin, ombak dan laut
2.dalam dan lebar perairan
3.jauh dan dekat nya kapal lain
2.Jelaskan lingkaran putar secara keseluruhan.
Jawab
Lingkaran putar adalah lintasan yang di buat oleh titik putar kapal itu sewaktu kapal tersebut berputar 360° atau lebih.
Lintasan yang terjadi merupakan jejak kapal yang di tinggalkan oleh titik berat ( G) kapal itu.
Definisi-Definisi
ADVANCE (lanjutan)
Jarak titik G sejak kapal di beri kemudi sampai arah kapal berobah 90° dari arah semula.
Jarak ini tergantung dari faktor-faktor
a. massa kapal seluruh nya
b. besarnya bagian kapal dibawah permukaan air (draft)
c. type daun kemudi
d. dongak atau nunggingnya kapal
e. panjang kapal.
Biasanya dalam praktek jarak ini kira-kira 4 kali panjang kapal.
TRANSFER (peralihan)
Jarak titik G tegak lurus haluan semula di hitung dari haluan semula ± 2,4 L
TACTICAL DIAMETER (diameter taktis) 
Jarak yang di hitung dari haluan semula sampai garis yang melalui sebuah titik yang berbeda 180° dari haluan semula.
DIAMETER AKHIR.
Diameter dari lingkaran putar setelah kapal berputar setelah kapal berputar dengan lingkaran yang titik pusat tetap.
Biasanya diameter ini lebih kecil dari diameter taktis.
KICK (tendangan)
Jarak dari garis haluan semula ke titik lintasan putar mulai membelok kearah kemudi di beri.
DRIFT ANGLE (sudut hanyut)
Sudut antara haluan kapal dan garis singgung melalui sebuah titik pada lintasan dimana kapal berada.
TITIK PUTAR (pivoting point)
Adalah titik pada mana kapal berputar bila kemudi di simpangkan.
Umumnya terletak di depan titik G kira- kira (1/6 – ¼ ) X panjang kapal di hitung dari linggi depan.
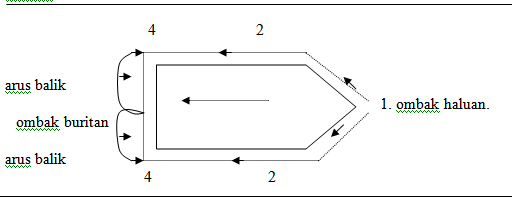
3.Gambarkan dan jelaskan pengaruh-pengaruh saat berlayar di perairan sempit.
Jawab:
Jawab:
1.ombak haluan
2.ombak ini mengalir berupa arus kebelakang bersama dengan penurunan permukaan air di kedua sisi
3.arus lemah yang bekerja di perpanjang garis lunas
4.arus balik yang menjurus ke depan
5.ombak buritan yang mendorong kapal
Hal- hal yang harus di perhatikan bila berlayar diperairan sempit dan dangkal.
1.kurangi kecepatan, cukup untuk mempertahankan haluan
2.usahakan berlayar di tengah poros / alur
3.penyusulan harus di laksanakan dengan hati-hati agar dapat mengurangi pengaruh hisapan satu sama lain
4.pada waktu melewati perkampungan,dermaga,tempat berlabuh,atau pelampung kepil dikurangi lagi kecepatan kapal.
4.Jelaskan Blockage factor serta faktor- factor yang mempengaruhi
Jawab.
Pengertian “BLOCKAGE FACTOR“ dan pengaruh perairan dangkal Terhadap kapal.
->Apabila sebuah kapal memasuki perairan dangkal  dan sempit, maka akan terjadi pengukuran jarak antara dasar perairan dan lunas kapal (UKC) yang di sebabkan adanya Squat.
->Disamping itu terjadi pula pengaruh hisapan karena lebar kapal dan lebar perairan sempit, yang memperkecil jarak bebas antara kedua lambung kapal dengan kedua sisi dari perairan sempit itu.
->Pengaruh yang terjadi disebabkan adanya gaya gesekan air dari gerakan kapal terhadap dasar perairan dan terhadap ke dua tepi dari sisi perairan disebut : “BLOCKAGE FACTOR“
Dimana Fb =  b x  t
                        B x H
Factor- Factor yang mempengaruhi sebagai berikut
1.kecepatan kapal
2.perbandingan sarat kapal dengan dalamnya periran
3.perbandingan antara luas bidang air kapal di bawah air (b x T) dengan luas bidang perairan  (B x H)
4.Coefficient block (cb) berat benaman kapal.
5.Jelaskan jarak waktu henti kapal yang full load dan kapal yang berlayar
Dengan in ballast
Jawab :
Jarak henti kapal kira-kira 5X panjang kapal dan besar nya tergantung dari:
1.pemindahan air kapal (bentuk baling-baling ) kapal bermuatan penuh lebih besar dari pada kapal kosong sedangkan
2.jarak henti sebuah kapal dalam kondisi kosong lebih kecil dari pada kapal yang bermuatan penuh :
-Pemindahan air kapal ( bentuk baling-baling ) kapal yang bermuatan penuh maka jarak hentinya lebih besar dari kapal kosong.
-Kita ambil contoh kapal suprt tangker dengan displacement besar maka karena massa kapal yang besar ,gerakan mundur kapal masih akan tertahan oleh sisa-sisa massa majunya.
Dengan demikian kapal seperti ini cenderung mempunyai kemampuan jarak atau waktu henti yang lebih panjang.
6.Faktor-faktor yang mempengaruhi besarnya lingkaran putar
1.Panjang kapal
2.Potongan Deadwood
3.Massa kapal
4.Momen of Internia
5.Besar dan bentuk daun kemudi.
7.Gaya- gaya saat kemudi di simpangkan.
Jawab:
Gaya- gaya yang bekerja sewaktu beerputar:
1.tekanan pendorong S yang bekerja atau bertumpu pada blok baling- baling
2.gaya P yang tegak lurus daun kemudi gaya P bekerja setelah kemudi di simpangkan.
3.tahanan W yang bekerja pada bagian depan lambung berlawanan dengan arah kemudi tahanan W ini bekerja setelah kapal mengarah kearah lintasan.
-> Gaya P timbul segera setelah kemudi di simpangkan 
Besarnya gaya P tergantung dari:
a.besarnya sudut simpangan kemudi
b.bentuk dan lebar daun kemudi
c.besar kecilnya kecepatan kapal.
-ketiga gaya tersebut dipindahkan ke titik berat G
-Disamping gaya S yang mendorong kapal maju terjadi 2 dua Buah moment yaitu :
P X a
W X b
-kedua moment inilah yang mengakibatkan kapal berputar kekanan sesuai arah kemudi
-kecepatan berputar permulaanya kecil kemudian membesar dan akhirnya konstant.
8.jarak henti dan waktu henti
Jawab:
Jarak henti adalah jarak sejak mesin mumdur penuh sampai kapal berhenti sama sekali
Waktu henti adalah waktu yang di lalui sejak kapalmundur penuh sampai berhenti sama sekali.
9.Jelaskan pengaruh angin pada saat
a.kapal diam
b.kapal berlayar maju
c.kapal mundur
Jawab:
a. Kapal diam pada umumnya berkeinginan untuk jatuh di bawah angin sehingga angin akan datang dari arah belakang beberapa saat melintang kapal.
b. kapal maju bila dengan sarat yang cukup jika mendapat angin dari arah melintang, maka haluan cenderung mencari angin sehingga kadang-kadang sulit di kemudikan.
c. kapal bergerak mundur maka buritan akan mencari angin .
10.Tindakan-tindakan bila melihat orang jatuh kelaut
Jawab:
1.Berteriak sekeras mungkin (bagi yang melihat) “ orang jatuh kelaut”di lambung kiri / kanan berulang-ulang di tujukan kepada mualim jaga dan pelampung penolong yang terdekat harus di lemparkan kearah korban (yang ada lampu lebih baik)
2.Mualim jaga setelah mendengar orang jatuh kelaut segera meletakan telegraph pada posisi stop 
3.Setelah mengetahui di sebelah mana orang itu jatuh maka dengan segera kemudi di putar kearah sisi korban tersebut yang mengakibatkan buritan kapal akan menjauhi si korban dan selalu mengamati keberadaan si korban
Tindakan menolong orang jatuh ke laut :
1.Pada cuaca baik 
-kapal di bawa sehingga berhenti diatas angin dari si korban
-sekoci disisi bawah angin di turunkan dan didayung kearah si korban 
-setelah korban tertolong sekoci kembali kekapal
2.Pada keadaan laut berombak
-kapal di hentikan diatas angin agak jauh dari si korban 
-sekoci dibawah angin diturunkan dan di dayung ke arah si korban dengan mengikuti ombak.
-stelah itu kapal di bawah kebawa angin dari si korban
-setelah si korban tertolong sekoci dapat di dayung kearah kapal.
Ukp : Ujian KeahKeahl Pelaut
Ukp : Ujian KeahKeahl Pelaut



0 Komentar Untuk "Olah Gerak Kapal Soal Jawab"
Posting Komentar